
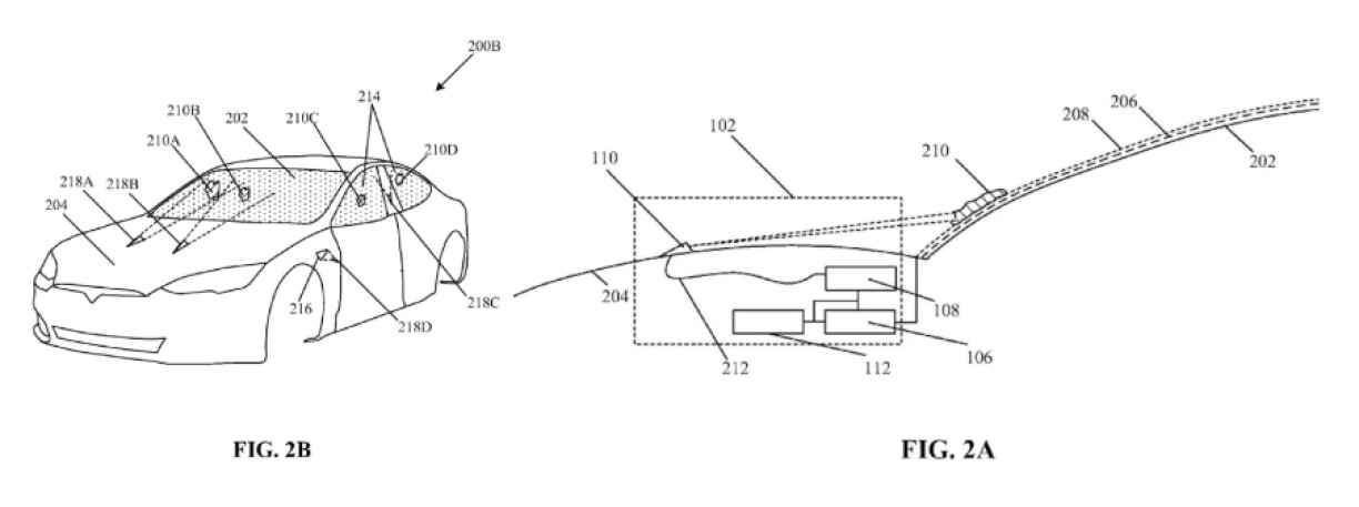
Tesla, dem Elon Musk seng Firma, huet virun e puer Deeg ee spezielle Brevet deponéiert mam Titel “Pulsed Laser Cleaning of Debris Accumulated on Glass Articles in Vehicles and Photovoltaic Assemblies”. An anere Wieder hunn d’Ingenieure vun Tesla ee System entwéckelt, fir mat Laser ze botzen. Zwee kleng Elementer kéinten um Capot vum Auto installéiert ginn a vun do aus d’Fënstere mat Laserstrale botzen.

D’Stäerkt vum Signal gëtt duerch eng Kontrollunitéit iwwerwaacht, déi mam Recht vum Auto connectéiert ass, fir Fënsteren oder Kameraen a Sensoren vum Auto ze botzen. Änlech wéi bei den automatesche Wischeren, déi schonn dacks am Gebrauch sinn, misst de Chauffeur sech ëm näischt këmmeren, an de System géif och esou schaffen, dass de Chauffer wärend dem Fueren net gestéiert gëtt.
Tesla schéngt och déi revolutionär Botz-Manéier u seng Solar-Panneauen ugepasst ze hunn.
Och wann et hei ëm een offiziellt Patent geet, heescht et nach laang net, dass de System direkt ëmgesat gëtt. Et kéint och sinn, dass en ni benotzt gëtt, an awer schéngt Tesla ëmmer nees op Iddien ze kommen, déi et bis elo nach net gouf.
Mam “Cybertruck”, den éischten 100% elektresche Pick-up dee kierzlech presentéiert gouf, wëll Tesla sech an der Offer diversifiéieren. An obwuel d’Presentatioun net genau esou verlaf war, wéi se geplangt war, hat dem Elon Musk seng Firma virun e puer Deeg scho méi wéi 140.000 Virbestellunge fir dat gepanzert Gefier kritt.